Фильтр-грязевик инерционно-гравитационный ФАРТА
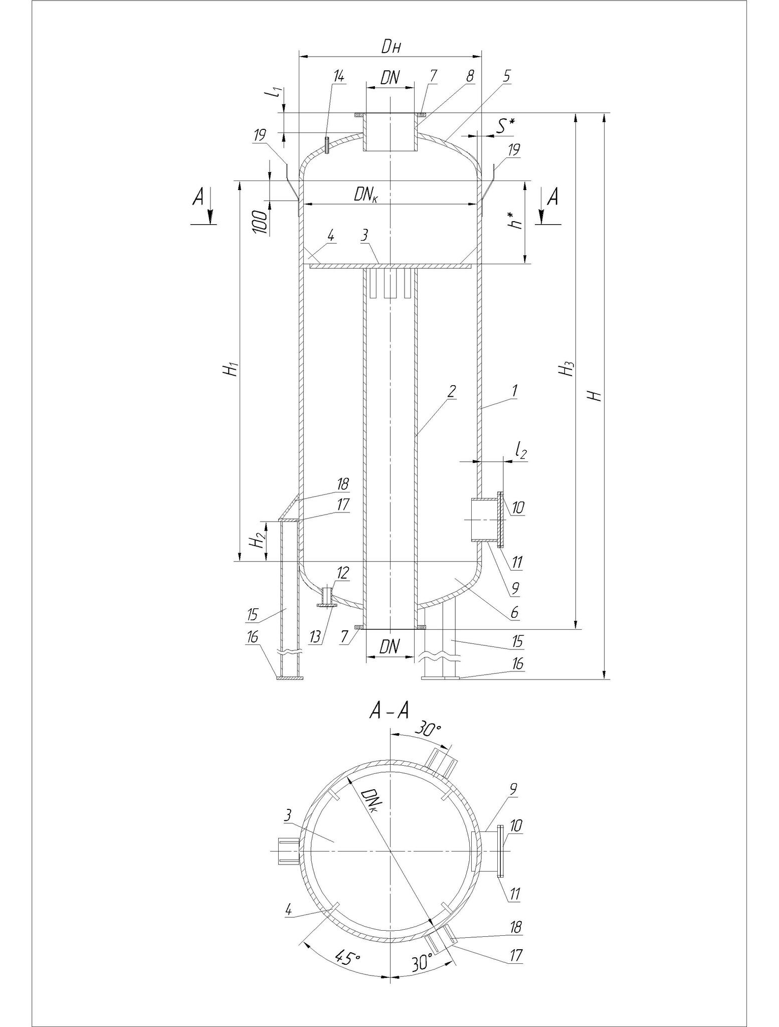
Фильтры-грязевики инерционно-гравитационные предназначены для эффективной безреагентной очистки различных технологических потоков воды (сетевой, подпиточной, оборотной, сточной воды и др.) от тяжелых механических примесей (песок, камешки, окалина, грат, продукты коррозии труб и оборудования, случайные, посторонние предметы и т.п.) размером более 20 мкм (максимальная эффективность очистки до 90%), а также легко всплывающих загрязнений (специальное исполнение с верхней камерой и дренажами).
Фильтры-грязевики инерционно-гравитационные широко применяются на многих различных промышленных предприятиях для очистки воды: на котельных и тепловых сетях для очистки сетевой и подпиточной воды, при промывке тепловых сетей, в оборотных системах водоснабжения, на водопроводных и тепловых вводах и тепловых пунктах перед теплообменниками, на водозаборных сооружениях для очистки речной воды от тяжелых взвешенных и механических загрязнений и в качестве 1 ступени очистки воды перед очистными сооружениями для удаления песка и наносных загрязнений (элементы грунта, камней и т.п.), а также перед различным технологическим оборудованием, имеющим высокие требования по качеству используемой воды.
Купить грязевик вы можете отправив заявку на электронную почту.
Грязевики в наличии на складе в городе Новосибирск !
Фильтр-грязевик инерционно-гравитационный ФАРТА
Ру – 10 МПа

